The HK T25 has VTA Adjustment!!

0 Members and 1 Guest are viewing this topic. Read 12751 times.

Jazz-Vinyl

The HK T25 has VTA Adjustment!!
« on: 28 Dec 2007, 07:15 pm »
Another Harman Kardon T25 Turntable discovery...it has VTA adjustment!!

 
Here it is as supplied from the Factory:
 

 
Here it is, raised as far as it will go:
 

 
Just loosen this screw at the back of the arm, raise and re-tighten:
 


I see a hex screw at the rear of the T55 arm, but loosening it did not allow the arm to be raised.   I know WGH said he adjusted the VTA on his T55...how do ya do it on that table, Wayne?


Wayner

Re: The HK T25 has VTA Adjustment!!
« Reply #1 on: 28 Dec 2007, 07:47 pm »
Good report! How much adjustment do you think there is, total?

W

WGH

Re: The HK T25 has VTA Adjustment!!
« Reply #2 on: 28 Dec 2007, 09:07 pm »
Raising the arm on the T55C is a little more complicated, but it can be done.

1.) Download the T55 Technical Service Manual from Vinyl Engine
     http://www.vinylengine.com/library/harmon-kardon/t55.shtml

2.) There is a setscrew in the back of the arm column base, you can loosen it with an allen wrench but the arm won't move yet.

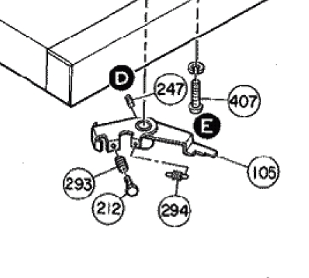
3.) Inside the table there is a couple (I think) of very tiny allen screws that hold the autolift arm in place, #247 in the drawing, buy a selection of the smallest allen wrenches Ace Hardware sells, one of them should fit. Once these are loosened the arm will fall out, so be careful.

     

     
   
4.) The base setscrew (#2) holds the arm at whatever height you need, then the autolift arm has to be re-set and tightened so the arm lifts at just the right point at the end of the record, this is usually done by trial and error. The service manual (#1) explains the adjustments in detail.

5.) You will notice that the arm rest will no longer pick up the arm at the end of a record, this is because it is now too low. There is no height adjustment that I have found for the arm rest, so I added a rubber tube over the arm to make it higher. You can just see it in the photo below.



Your cartridge body should now be parallel with the platter.



Wayne

Wayner

Re: The HK T25 has VTA Adjustment!!
« Reply #3 on: 28 Dec 2007, 09:45 pm »
UMMMM,

What part of the cartridge body is parrallel to the record surface? The top, I hope. That probably is the only reference surface on any cartridge. That should equate to a parallel arm tube to the record surface (if the arm tube is not tapered). To determine if the arm tube is tapered, you may see that it is smaller in diameter by the headshell than it is by the pivot assembly. Most straignt tone arms are made out of tube that has a uniform diameter from end to end. one example of an arm that is not is a Rega. They are cast and have a taper down the entire lenght. If you align the top surface of the arm to the record, you will be off by the taper amount, less the cartridges rake angle.

If your top picture of the pivot assembly has the stylus on the record when you took the picture, you have a problem.

W

WGH

Re: The HK T25 has VTA Adjustment!!
« Reply #4 on: 28 Dec 2007, 10:49 pm »
Yes, Wayner you are correct, the arm tube should be parallel to the record surface with the needle on a record.

The Goldring G1042 directions specify the cartridge bottom should be parallel with the record, if the arm is parallel then it all should fall into place and be a good starting point to fine tune the VTA.

Here is a better photo of my setup.


Wayner

Re: The HK T25 has VTA Adjustment!!
« Reply #5 on: 28 Dec 2007, 11:15 pm »
Oh good, beautiful! Nothing gets me going more than perfect geometry! I thought you had done your homework!

Vinyl on!

:drool:

Jazz-Vinyl

Re: The HK T25 has VTA Adjustment!!
« Reply #6 on: 28 Dec 2007, 11:20 pm »
Wayner - it looks like the T25 has about 5/16th of an inch in the VTA adjustment.  Seems like more than enough.

Wayne (WGH) - agree with your instructions on the T55 VTA adjustment - I see it IS possible, and I also see it's quite the PAIN!!   

Just set my T55C VTA, and it no longer picks up at the right spot, so will have to do the Serv Manual procedue to back it back in shape.  Great job on the pics and instructions!!!

Everyone - I have one T25 modded with the outboard supply and it's playing David Sanborn - "As We Speak" and it sounds good.  The Poor man's stethoscope (screwdriver on the deck, handle end on your ear) says that the motor in the T25 is a heck of a LOT quieter than the one in the T55C.  You have to strain to hear ANYTHING coming off the deck of the Modded T25.  Before the mod, I mostly heard 60 hz hum.  I'll bet that is what Frank heard too, and inspired him to make these mods for these HK tables.

Now, the T25 seems to have a lttle bit of an acoustic feedback problem that muddies up the bass (just a little) that the T55C is free of. I'm sure this is because of the nice floating, suspended platter and tonearm on the T55C.

I am going to predict that the T25 comes around nicely when it's innards get plast-i-clay'ed.  Where IS my Plast-i-clay?  Ordered (seems like) weeks ago!  I checked, and the company charged my card...where is my clay?  Patience?  What Patience!!

Okay, back to VTA...the Goldring Cart says the bottom of the cart goes parallel, and in general, we are looking for a dead level tonearm (when it's not a tapered tonearm).

If you get the VTA perfect, does it reveal itself in the sound?  I mean, can you tell immediately that you hit the sweet spot??




WGH

Re: The HK T25 has VTA Adjustment!!
« Reply #7 on: 28 Dec 2007, 11:35 pm »
If you get the VTA perfect, does it reveal itself in the sound?  I mean, can you tell immediately that you hit the sweet spot??

No, you have to sneak up on it.

Arm too low in back = boomy bass, attenuated highs
Arm too high = less bass, piercing highs

With the T55C VTA adjustment such a PITA, I eye ball the setup, call it good enough and enjoy the music.

Jazz-Vinyl

Re: The HK T25 has VTA Adjustment!!
« Reply #8 on: 28 Dec 2007, 11:40 pm »
Okay...

I am eyeballing the T25, and I see that with the Arm in the LOWEST position, that the arm is ever so slightly tilted downward at the cartridge end.

What do you do in that case???


Jazz-Vinyl

Re: The HK T25 has VTA Adjustment!!
« Reply #9 on: 29 Dec 2007, 12:19 am »
Ah!  Play around with a very thin mat if the VTA won't go any lower..?

WGH

Re: The HK T25 has VTA Adjustment!!
« Reply #10 on: 29 Dec 2007, 12:42 am »
If you need to raise the front of the arm so the arm is level, then you will need a spacer between the cartridge and the head shell. I have heard about them but don't know where to get them. I think spacers are supplied with the Denon DL-1xx cartridges.

Being a woodworker, I would make a spacer out of a musical wood, or a dense wood, or whatever I had laying around.

A thicker mat will work, but that can get very expensive very fast, the mats will end up costing more than the table.

Jazz-Vinyl

Re: The HK T25 has VTA Adjustment!!
« Reply #11 on: 29 Dec 2007, 01:16 am »
Sounds good to me, Wayne.  My Grandfather was a carpenter, I love to work with wood.  I think he used to say "Easier to cut some more off than it is to glue some back on" LOL...

I went out to the garage and snatched the Mat off the Technics SL-Q2, placed on top of the thin HK Mat...and - it worked perfectly!   Cleaned up the T25's bass.  It's soundin' GOOD over here!!!


nodiak

  • Full Member
  • Posts: 1083
Re: The HK T25 has VTA Adjustment!!
« Reply #12 on: 29 Dec 2007, 01:28 am »
Wow, good to see the work you are all doing on this. I picked up a T25 for $15 at a yard sale a few years ago. Looks like it can be put to good use. Hopefully next month I can do some of this.
Thanks!
Don

Jazz-Vinyl

Re: The HK T25 has VTA Adjustment!!
« Reply #13 on: 29 Dec 2007, 01:59 am »
Hello Don...

Definitely do the outboard Power Supply thing...and do the Plast-i-clay innards, too.

The table will very MUCH suprise you when your complete!

I am going to outboard another T25 power supply, I will try and document the steps on this next one.  (It's pretty darn easy).

The only two things I don't like about the T25...are the Cueing, not as smooth as I would like.  And the Feet...the feet are outright "poopy/cheap". 

We will have to dream up some inexpensive fixes for these two shortcomings...

See Ya!


Jazz-Vinyl

Re: The HK T25 has VTA Adjustment!!
« Reply #14 on: 29 Dec 2007, 02:23 am »
Here is my VTA Geometry (this is the LOWEST setting):

 
Audio Technica 216E = L/R Balance 1kHz < 1db
Stylus Tip - Nude BiRadial (0.2 x 0.7mil)
Cantilever - Thin Wall Alloy Tube
Compliance = ?
VTF - 1.0-1.5gm (I run at 1.25 grams)


 
Here she is - all done b'cept the Plast-i-clay stuffing...



dorokusai

  • Jr. Member
  • Posts: 173
  • Polk Audio Customer Service
    • Polk Audio
Re: The HK T25 has VTA Adjustment!!
« Reply #15 on: 29 Dec 2007, 02:29 am »
That sharp looking but I'm still deathly afraid of getting into vinyl. I have enough to do :D

What record clamp is that? The Clamp?

Mark
« Last Edit: 29 Dec 2007, 02:40 am by dorokusai »

Jazz-Vinyl

Re: The HK T25 has VTA Adjustment!!
« Reply #16 on: 29 Dec 2007, 02:55 am »
Well, I buy a lot of vinyl at the Thrift stores locally that is in really GREAT SHAPE (hardly ever played) and I pay the astounding price of
50 cents per LP!!!   I love it man!!  That is a great reason to get into vinyl. New (to me) Tunes for cheap!  Plus the sound...oh lala, a good table will amaze you!

And the clamp...was bought on Ebay from a fellow in Canada.  I don't see him on Ebay anymore.  I paid like $24.00 for it shipped.  It's made of aircraft aluminum and it has rubber o-rings where it fits onto the spindle.  He said they were all custom made on his own CNC lathe.






nodiak

  • Full Member
  • Posts: 1083
Re: The HK T25 has VTA Adjustment!!
« Reply #17 on: 29 Dec 2007, 03:21 am »
I'm crackin up! iirci bought the tt 10+ years ago just to be able to play the last 80 lp's I didn't sell off along the way. My son was an infant and all stereo gear (AVA ss pre and amp) was on shelves 5' up...moved from there, rediscovered the tt this year, thought - hey this isn't cool I need to be cool and buy a cool tt like all the cool guys do on AC.  :lol: But this is plenty fine by me and a bit of a gift for sure. Can soon scour around for all the cheap lp's I used to own... :thumb:
I'm glad to see the resurgence of used lp's at the stores in the last few years.
OK, 'scuse the blah blah but I appreciate this info and will play along asap!
Oh, the feet...The T25 would skip when the door closed because it was on a shelf screwed into the same wall. I removed the springy feet and put hard feet on it and it didn't skip near as easily. Used 1.25" x 1.25" pieces of baltic birch ply with hard rubber feet epoxied on. Yup, they're still there.
Take care, Don 

Jazz-Vinyl

Re: The HK T25 has VTA Adjustment!!
« Reply #18 on: 29 Dec 2007, 04:01 am »
Sounds good to me, Nodiak!  The Modded T25 will please you, I guarantee it.

I have the T25 and a T55C, both modded with the outboard power supply.  The T55C is superior to the T25 sonically.  The T25 comes in at a nice respectable 2nd place, but the T55C shows a larger soundstage and a more realistic sound overall (tested swapping the same Audio Technica 216E Cartridge).

Of course I still need to Plast-i-Clay the T25, and I wager that will help it out and bring it in closer, to the T55C.

But keep your eyes open for a good used T55C (or the T60C) and if you can bring one of those home cheap and do the PS mod....you'll be in
"Giant-Killer" land.

Also - avoid the T65 as it used an AC motor and does not benefit as much like the T-60 and lower models do, from the Outboard Power Supply mod...

See Ya!!

 
« Last Edit: 29 Dec 2007, 04:38 am by Jazz-Vinyl »

Jazz-Vinyl

Re: The HK T25 has VTA Adjustment!!
« Reply #19 on: 29 Dec 2007, 02:11 pm »
Here is the innards of the T25 Outboard Power Supply:
 

 
The T25 Mod is easier to execute than the T55/T60 mod, everything is on one board inside the T25.  You just have to cut the on/off switch leads and the +/- DC 12 Volt leads to be able to remove all the AC
from inside this deck...